海灣GST-HX-300B火災聲光警報器
一、海灣GST-HX-300B火災聲光警報器產品概述
GST-HX-300B火災聲光警報器(以下簡稱警報器),用于在火災發生時提醒現場人員注意。警報器是一種安裝在現場的聲光報警設備,當現場發生火災并被確認后,可由消防控制中心的火災報警控制器啟動。啟動后警報器發出強烈的聲光警號,以達到提醒現場人員注意的目的。
二、海灣GST-HX-300B火災聲光警報器產品特點
1.GST-HX-300B采用2線制,僅有信號總線,現場接線更方便。
2.紅色有機玻璃面板,采用超高亮發光二極管作為光源,顯示醒目、壽命長、功耗低。
3.總線無極性,方便現場調試。
4.地址碼為電子編碼,可現場改寫。
5.GST-HX-300B具有兩種音調模式:火警聲、嘀嘀聲。
6.電路部分和接線底殼采用插接方式,接觸可靠、便于施工。
三、海灣GST-HX-300B火災聲光警報器技術特性
| 工作電壓 | 信號總線電壓:DC24V |
| 工作電流 | 總線監視電流≤0.25mA 總線啟動電流≤5mA |
| 閃光頻率 | 1.1Hz~1.7Hz |
| 火警聲調聲壓級 |
80dB~115dB(正前方 3m 水平處(A 計權) ;嘀嘀聲調聲壓級80dB~115dB(正前方 3m 水平處(A 計權) |
| 變調周期 | 3.5s~4.8s(火警聲)/0.6s~1.0s(滴滴聲) |
| 編碼方式 | 采用電子編碼方式,占一個總線編碼點,編碼范圍可在 1~242 之間任意設定 |
| 線制 | 兩線制,與控制器采用無極性信號二總線連接 |
| 使用環境 | 溫度:-10℃~+55℃;相對濕度≤95%,不凝露 |
| 倉儲條件 | 溫度:-20℃~60℃;濕度:0~95%,不凝露 |
| 使用場所 | 室內 |
| 外形尺寸 | 141mm×90mm×53mm(帶底殼) |
| 外殼防護等級 | IP43 |
| 殼體材料和顏色 | ABS/白色,正面鑲有機玻璃/紅色 |
| 重量 | 約 183g (帶底殼) |
| 安裝孔距 | 60mm |
| 執行標準 | GB 26851-2011 |
四、結構特征與工作原理
1.警報器外形示意圖如圖1所示。

2.工作原理
警報器內嵌微處理器,微處理器實現與火災報警控制器通訊、聲光信號啟動。警報器接收到火災報警控制器的啟動命令后,開始啟動聲光信號。
五、海灣GST-HX-300B火災聲光警報器安裝與布線
警告:安裝設備之前,請切斷回路的電源并確認全部底殼已安裝牢靠且每一個底殼的連接線準確無誤。
1.安裝前應首先檢查外殼是否完好無損,標識是否齊全。
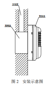
2.警報器底殼與警報器之間采用插接方式,安裝時為明裝,可安裝在86H50型標準預埋盒上,安裝示意圖如圖2所示。

3.安裝底殼時應注意方向,底殼示意圖如圖3所示。

其中:
Z1、Z2:接控制器信號總線,無極性。
4.布線要求:
信號總線Z1、Z2采用RVS雙絞線,截面積大于等于1.0mm。
智淼君安(江蘇)消防工程技術有限公司http://www.jurongxin.cn/本頁關鍵詞:

蘇公網安備32058102002148號